1 前言
在生产过程中,人们常常对实际加工出来的一批工件进行检查测量,运用数理统计方法加以处理和分析,从中找出规律,找出解决加工精度问题的途径,并控制工艺过程的正常进行。人工检验和统计分析是质量控制的传统方法,这是一项精细、单调而且费时的工作。在统计采样处理中会有少量不合格品漏检而进入合格品中。实际上,在生产和检测过程中统计采样处理经常让平均不合格率保持在某一百分比以下,这就是说允许工件合格率百分比略低于100%。
传统质量检验的另一个问题是事后检验,即零件质量是在加工完后确定的。如果零件不合格,就需要返工或报废,而返工费用往往比正常加工费用大。
计算机与传感器技术的结合使检验过程实现了自动化。检验工作都是在100%的基础上在线进行,可以把它当作生产工序中的一部分。100%的在线检验结果作为反馈数据用于补偿和调整制造过程。
计算机辅助质量控制与传统方法比有以下优点:
(1)可对零件100%在线检测和测试,而不象传统方法那样抽样,为生产过程控制提供精确的控制参数。
(2)将生产过程中的检验集成到某一道工序,而不必另设检验工序,提高了工作效率。
(3)由于采用了100%的在线检验,既能判别超差工件,又能实时给出质量控制图,判别工艺系统的稳定性,并给出相应的调整措施。
本文对传统质量控制图的有关控制参数进行了修正,增加了生产过程控制的可靠性,并给出了计算机辅助质量控制系统。
2 传统质量控制图及参数修正
对于生产过程质量控制主要是采用点图分析法,传统分析步骤是:
(1)按加工先后顺序随机抽取一批样本N,每组为m件(4或5件)计算X、、和σR以及上下控制线。如图1所示。

图1 传统质量控制图及参数
X为样本组平均值的数学期望,j为样本组平均值,为样本极差的数学期望,Rj为样本极差的平均值,为分布的标准偏差,σR为R分布的标准偏差
(2)按一定的次序选取子样本(m=4~5)计算j和Rj,并将点描绘在控制图上。
(3)根据点的正常波动和异常波动的标志来判断工艺过程是否稳定,如果不稳定就要对其影响因素进行分析,并给出相应的措施。
由此可见控制图中的X、、和σR同样本的容量有关,样本容量越大,其参数越接近实际情况,估计误差越小。在传统的加工质量控制中所使用的参数X、、、和σR从理论上讲应在无穷大样本中得出,但在实际应用中是不可能的,它们只是从足够大的样本上计算出来的。随着加工的进行,样本空间逐渐增大。如果把测得的数据都作为原始样本数据处理,那么就增加了质量控制的可靠性,这对于传统的加工质量控制方法是无法实现的。而对计算机辅助加工质量控制系统是可行的。因此,应在生产过程中不断地修正X、、和σR,以增加其可靠性,同时也克服了在选择样本时由于工艺处在某种状态所引起的随机误差的影响。
图2为改进参数后对第Ⅰ组工件进行监测所得的控制图的中线及上下控制线。

图2 改进后的质量控制图及参数
Xi-1为包含第i-1组在内的所有样组平均值的数学期望,i-1为包含第i-1组在内的所有样组极差的数学期望,为包含第i-1组在内的所有分布的标准偏差,σRi-1为包含第i-1组在内的所有R分布的标准偏差
上述方法控制生产过程优越于传统方法。采用计算机测试系统对工件进行在线检测,实时统计分析。它可以精确地提供该工序中误差的性质和变化规律,给出工件加工误差的变化趋势,判断工艺过程是否处于控制状态,如工艺过程处于不稳定状态时便给出分析结果及调整措施。计算机辅助质量控制系统每测试一组数据,就要重新修正一次控制参数,并在此基础上对所有采集点重新进行判断,并给出评价结果。
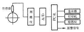
3 系统硬件组成
计算机辅助质量控制系统框图如图3所示。本系统采用接触式测量,其原理是通过传感器及测微仪将工件的加工误差转换成电信号,由计算机控制A/D板将模拟量转换成数字信号,并对采集数据进行系统分析,输出分析结果。给出相应的调整信息,当工艺系统不稳定时,发出报警信号。

图3 计算机辅助质量控制系统框图
4 系统应用软件设计
本系统采用混合编程方式,数据采集子程序用80486汇编语言编写,统计分析程序用C语言编写。本系统应用软件采用模块式结构,其程序框图如图4所示。该程序具有如下功能:
(1)对所采集的数据进行统计分析,给出实际分布图、质量控制图,可供在线监控。
(2)判断工艺系统的稳定性,工艺系统不稳定时并给出改善措施。

图4 程序框图
5 结论
(1)本文对加工过程质量控制参数进行了修正,为计算机辅助质量控制提供了更可靠的控制参数。
(2)实验表明,本文给出的计算机辅助加工质量控制系统具有实用性,可作为CAM的一个环节,广泛用于机械加工质量控制中。