8.1 基于资产全生命周期的管理
终端资产管理中,资产管理包括从资产申请、购置、验收、调拨、领用、使用、维修、盘点、清理和废弃整个生命周期的各个阶段,即该管理过程涉及资产的全生命周期各个阶段,称为资产全生命周期。
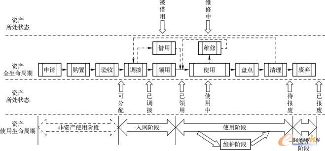
资产全生命周期包括可分配、已调拨、已领用、被借用、正常使用、维修中、待报废和已报废8个不同状态。就终端资产的使用而言,可将资产的全生命周期划分为入网阶段、运行阶段和废弃阶段三大阶段,鉴于资产维护工作的特殊性,将运行阶段中涉及变更和维修的工作抽离出来构成维护阶段。为了与传统的资产全生命周期的概念相区别,本书将入网、运行、维护和废弃4个阶段称为终端资产使用生命周期。终端资产全生命周期与终端资产使用生命周期对应关系参见图8-1。

图8-1 终端资产全生命周期与终端资产使用生命周期对应图
(1)入网阶段
入网阶段指终端设备从申请到入网期间的所有过程。其重点工作在于做好终端资产使用的准备,对于资产的定位在入网前确定下来,避免信息级别错位,导致信息安全存在隐患。
该阶段输入的是采购、验收入库的终端设备,对于采购信息的要求进行记录,核对验收入库时终端设备的相关信息,尤其是对终端设备的厂商进行标注,区分厂商的性质(国产、外资、合资等)。该阶段输出的应该是符合组织终端入网法规的终端资产,并且建立资产的唯一性标识,全程建立资产在生命周期中的识别性保障。
(2)运行阶段
从使用周期上看,终端登记入网后到终端最终退库或废弃期间,终端资产都处于运行阶段。鉴于终端资产在使用过程中存在的硬件配件变更、资产自身更换使用人、资产所属部门单位变更、资产在行业内上下级调动、资产在不同网络之间的转换使用、资产因故障进行维修等多种情况,将终端入网后到废弃之间正常运行的过程称为运行阶段,将在期间软硬件变化、换人使用、转网使用、故障维修等工作过程统称为维护阶段。因维护阶段的存在,运行阶段可能是断续的时间段。运行阶段的重点工作是保证终端合法合规运行,并且对应资产的唯一性标识和人员的责任与使用建立直接关联,保障资产在该阶段中所有的风险都关联到具体的责任人和使用者,对于网络资源以及信息安全的的实际操作者进行全程的记录,杜绝资产管理、使用和操作的“盲区”。
该阶段的输入应是符合组织终端入网法规的终端资产。包括新申购的入网终端资产、软硬件变更后的终端资产、换人或转网使用的终端资产、维修后重新入网的终端资产等。该阶段的出口包括维护和废弃两个阶段,针对不同阶段的输出不同。
(3)维护阶段
维护阶段是运行阶段中的特殊阶段。从时间上看,该阶段处于运行阶段之中,维护阶段可能是断续的时间阶段。维护阶段的主要工作是对终端正常运行外出现的变更、维修等情况进行处理,以保证终端资产在出现软硬件、人员和使用环境变更或出现故障时进行有效的管理,保证终端资产再次合法合规的使用,重点在于维持终端在生命周期过程中的唯一性,避免因为维修操作的流程导致终端消失在管理和监控的范围内,出现信息安全级别混乱,资产流失等问题。
该阶段的输入为待维护资产及其变更或故障信息,输出为符合组织入网要求的变更或维修后的终端资产、资产管理信息更新。
(4)废弃阶段
当资产无法正常使用时,进入报废阶段。该阶段的主要工作是按照组织规定的流程和方法完成资产废弃前一系列的工作,包括做相关登记、信息处理等。该阶段工作的关键点是要准确识别并处理和废弃资产相关的组织其他资产,不能造成对废弃资产外组织其他资产损失或损坏,如必须将废弃终端设备中存储的工作信息进行处理即完成废弃工作,同时对资产的唯一性标识进行完结处理。
该阶段输入是待废弃资产(及相关资产),输出为废弃资产、资产管理信息变更、与待报废资产相关但并不进行报废的资产。
ICP经营许可证:鄂B2-20080078
(于2003年首获许可证:鄂B2-20030029)
鄂公网安备:420100003343号
© 2002-2025 武汉制信科技有限公司 版权所有
投诉举报电话:027-87592219