1 前言
包络蜗杆分度凸轮机构,是将齿轮传动技术引入到分度凸轮机构的设计与制造领域,在保持弧面凸轮分度机构特点的基础上,应用蜗轮蜗杆机构的传动原理和技术,用已知分度盘柱状轮齿廓面去创成分度凸轮的齿廓曲面,解决分度凸轮与分度盘制造精度要求高和难装配等问题,从而有效地提高分度装置的运动精度(定位与分度精度)。
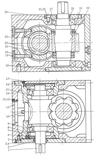
如图1所示,该装置的分度盘周向均布有8个圆柱状轮齿,与蜗杆状凸轮的螺旋型齿廓面相啮合;运动由凸轮轴1传入,分度凸轮等速回转,按照特定的间歇分度运动规律,推动分度盘体23做间歇分度运动,并将运动由分度轴30向外输出。其中分度盘体23与分度轴30间采用锥面配合联接,便于装配时的调整。凸轮轴1装在整体式偏心调整套筒15内,偏心调整套筒15装在分度箱体14中,由调整螺栓10来调整偏心套筒的偏心距,控制凸轮与分度盘轮齿间的径向啮合状况;而凸轮1的轴向位置则由偏心调整套筒15内的两个轴向调整螺纹盘7来调整定位,以实现分度凸轮与分度盘轮齿间的无侧隙啮合传动。
由于分度盘是采用蜗轮状的整体结构,减少了组成环节,提高了轮齿间的啮合刚度;并且分度盘与凸轮轮齿间采用点啮合传动的啮合方式,可以很方便地进行凸轮的轴向和径向啮合调整;因此制造、装配容易,传动平稳,适用于做高速、高精度的间歇分度运动的控制部件。
2 分度凸轮机构装置的参数化CAD技术要点
对于图1所示的分度装置,其结构形式及形状较为定型,可以用一组参数及不同的计算公式来约定各类结构尺寸间的关系;参数与设计对象的控制尺寸有对应关系,设计的修改受到尺寸变化的驱动;只要输入该装置的几个基本参数(如:中心距、分度数、分度盘计算圆直径、柱形轮齿半径、运动规律曲线、传动功率等),以及适当的人机交互输入,便可以完成从分析机构运动到设计结构图的全部过程,实现此类装置的自动化设计过程;同时也可为装置结构的变化和使用环境改变而进行的修改设计图纸提供基础与方便。

图1 新型包络蜗杆分度凸轮机构装置图
1.凸轮轴 2、28.密封毡圈 3、6、12、16、25.螺钉
4、13、20、26.垫圈 5.透盖 7.轴向调整螺纹盘
8、22.调整环 9、27.支承轴承 10.调整螺栓 11.观察窗 14.分度箱体
15.偏心调整套筒 17.端盖 18.后端盖 19.锁紧螺母 21.紧固圆螺母
23.分度盘体 24.前端盖 29.紧固螺钉 30.分度轴
2.1 参数化设计的基本构思
本设计主要是运用C/C++编程语言对FoxBASE(或FoxPro)关系型数据库和Auto CAD绘图系统进行读写操作,完成分度装置的结构参数化设计过程,形成从零件图到装配图的微机CAD交互设计系统。其中C程序设计是本装置参数化CAD的核心,它根据给定的设计参数及条件,首先进行机构啮合特性的分析与计算,以确定装置中主要组成构件的运动几何参数和结构尺寸等;然后从所建立的数据库中读取有关的数据,进行结构尺寸间的相关计算及几何参数的选定,生成可供Auto CAD调用的图形文件;最后根据设计者的选择,由微机系统自动完成零件图、部件装配图和总装配图的绘制以及尺寸与形位公差的标注工作。
上述设计过程的实质是:在C程序传送给Auto CAD系统一系列参数及变量的基础上,生成所设计的各类图形的参数化设计过程;并且可以不断地搜集最新的研究理论与技术成果,充实和丰富参数化设计的数据库,为设计者提供最佳的选择机会。
2.2 参数化设计的软件系统组成模块
本系统是以C程序设计为核心,以数据库的读取、数据的分析与计算、图形文件的生成、自动绘图及图纸输出等为一体的CAD系统(图2)。其主要的功能模块有:

图2 分度装置绘图软件的结构
(1)由C/C++语言编写的信息判断处理和信息转化模块,完成数据检索、图形绘制控制、设计计算及软件接口程序的生成等。
(2)存放绘制分度装置零件图、部件图程序的绘图程序库,可以实现自动绘图过程。
(3)图形库分为静态图形库和动态图形库两个部分;其中静态图形库存放着零部件图所需的符号、信息等(如形位公差、粗糙度、技术要求、零件标号、明细表);动态图形库存放着由程序生成的零件图、部装图及总装图,并随控制参数(如结构参数、图形控制参数)的改变而生成所需要的图形。