第三章 磁盘大挪移——磁盘原理与技术 详解
第一十零节 固态存储介质和固态硬盘
有16b总线的设计了。总线频率目前一般为33MHz,最新也有40MHz的。

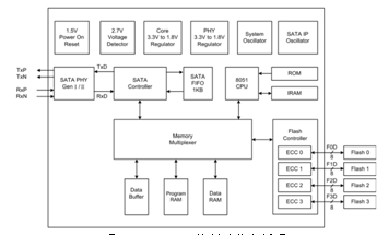
图3-37 Flash控制芯片方框图
对于数据写入来说,待写入的数据必须经过ECC校验之后,将数据和ECC校验信息一并写入芯片;对于数据读取来说,数据会与其对应的ECC信息一起读出并作校验,校验正确后才会通过外部接口发送出去。ECC运算器位于Flash Controller中。整个SSD会有一片很大容量的RAM(相对于机械磁盘来讲),通常是64MB甚至128MB,其原因将在下文讲述。CPU执行的代码相对于机械磁盘来讲也是比较复杂的,关于CPU都需要执行哪些功能,也一并在下文讲述。
3.10.2 从Flash芯片读取数据的过程制芯片方框图
如图3-38所示,当需要读出某个Page时,Flash Controller控制Flash芯片将相应这个Page的字线组电势置为0,其他所有字线组的电势则升高到一个值,而这个值又不至于使电子穿过FG绝缘层到达FG。这种动作的结果是,所有Cell串的位线被导通以便外接从位线上提取电势状态,而所有字线电压被提高的Page其感应线均被断开导致感应线不能将对应Cell的电势传递到位线上,所以此时每个Cell串的位线所体现的电势值与待读出Page中所有Cell一一对应,再通过电路将每条位线上的电势值解码成1或者0从而传输到芯片外部,放置于SSD的RAM Buffer中保存,这就完成了一个Page内容的读出。SSD的IO最小单位为1个Page。

图3-38 读Page时的电压状态