视图主要用来表达机件的外部结构和形状,如果零件的内部形状结构比较复杂,视图上会出现较多的细虚线、实线交叉重叠,既不方便看图,也不便于图上尺寸的标注,图3-15所示是机件的立体图和三视图。为了能够清晰地表达零件的内部结构,可采用剖视的方法画图。

图3-15机件的立体图和三视图
3.3.1 剖视图的形成
假想用剖切面剖开机件,将位于剖切面与观察者之间的部分移走,将剩下的部分向投影面进行投影,这样所得到的图形称为剖视图,如图3-16所示。

图3-16剖视图的形成
剖视图由两部分组成,一是和剖切面相接触部分的投影,该部分由剖切面和机体内外表面的交线围成,称为断面区域。剖切平面与物体接触部分称为断面区域。在绘制剖视图时,通常应在断面区域画出剖面符号。不同材料的剖面符号分类示例如图3-17所示。

图3-17剖面符号分类示例
3.3.2 剖视图的画法和步骤
现以如图3-18所示的支架为例介绍画剖视图的方法和步骤。

图3-18支架
1)画出机件的主、俯视图,如图3-19a所示。
2)首先确定哪个视图取剖视,然后确定剖切面的位置。剖切面应通过机件的对称面或轴线,且平行于剖视图所在的投影面。这里用通过两孔的轴线且平行于V面的剖切面剖切机件,画出断面区域,并在断面区域内画上剖面符号,如图3-19b所示。
3)画出剖切面后边的可见部分的投影,如图3-19c所示。
4)根据国标规定的标注方法对剖视图进行标注,如图3-19d所示。

图3-19剖视图画图步骤
3.3.3 剖视图的标注方法
剖视图一般应用大写拉丁字母“X—X”在剖视图上方标注出剖视图的名称,在相应的视图上用剖切符号表示剖切位置及投射方向,并标注相同的字母,剖视图的标注如图3-20所示。但是剖切符号不要和图形的轮廓线相交,箭头的方向应与看图的方向相一致。
在画剖视图时,应注意以下事项。
1)剖视图中剖开机件是假想的,因此当一个视图取剖视之后,其他视图仍按完整的物体画出,也可取剖视。如图3-16所示,主视图取剖视后,俯视图仍按完整机件画出。
2)剖视图上已表达清楚的结构,其他视图上此部分结构投影为虚线时,一律省略不画,如图3-16所示的俯、左(主)视图的虚线均不画。对未表达清楚的部分,虚线必须画出,如图3-19所示,主视图中的虚线表示底板的高度。如果省略了该虚线,底板的高度就不能表达清楚,这类虚线应画出。
3)同一机件各个断面区域和断面图上的剖面线倾斜方向应相同,间距应相等。

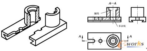
4)不要漏线和多线,剖视图中常见的错误如图3-21所示。

图3-21剖视图中常见的错误
3.3.4 剖视图的种类
根据剖开机件范围的大小,剖视图分为全剖视图、半剖视图、局部剖视图三种。下面介绍三种剖视图的适用范围、画法及标注方法。
1.全剖视图
假想用剖切面将机件全部剖切开,得到的剖视图称为全剖视图。如图3-16和图3-20所示均为全剖视图。
全剖视图主要用于表达不对称机件的内形,外形简单、内形相对复杂的对称机件也常用全剖视图来表达。
2.半剖视图
当机件具有对称(或基本对称)平面时,在垂直于对称平面的投影面上所得到的图形,以对称中心线为界,一半画成剖视图,另一半画成视图,这种组合的图形称为半剖视图,如图3-22所示。

半剖视图主要用于内、外形状都需表达的对称机件。如图3-22所示的机件内部有不同直径的孔,外部有凸台,内、外结构都比较复杂,而且前、后,左、右结构对称。为了清楚地表达前面凸台形状和内部孔的情况,主视图采用半剖;为了表达顶板的形状和顶板上小孔的位置及前面正垂小圆柱孔和中间铅垂圆柱孔穿通的情况,俯视图用了半剖视图。
如果机件形状接近于对称,而不对称部分已有图形表达清楚时,也可以画成半剖视图,如图3-23所示,图形结构基本对称,只是圆柱右侧键槽与左边不对称,但俯视图已表达清楚,所以主视图采用半剖视图。


图3-23半剖视图图3-24剖视图中肋板的画法
ICP经营许可证:鄂B2-20080078
(于2003年首获许可证:鄂B2-20030029)
鄂公网安备:420100003343号
© 2002-2025 武汉制信科技有限公司 版权所有
投诉举报电话:027-87592219